
在 Django 中,中间件(Middleware)是一组轻量级、底层的插件系统,用于全局地改变 Django 的输入和输出。中间件可以在请求被处理之前和响应返回之前执行代码,从而实现各种功能,例如跨域资源共享(CORS)、用户认证、日志记录等。
若要激活中间件,需要添加到settings.MIDDLEWARE中
settings.MIDDLEWARE中从上到下的顺序执行。settings.MIDDLEWARE中从下到上的顺序执行。MIDDLEWARE = [
"corsheaders.middleware.CorsMiddleware", # CORS跨域支持
"django.middleware.security.SecurityMiddleware",
"django.contrib.sessions.middleware.SessionMiddleware",
"django.middleware.locale.LocaleMiddleware", # I18N多语言支持,注意放置顺序
"django.middleware.common.CommonMiddleware",
"django.middleware.csrf.CsrfViewMiddleware",
"django.contrib.auth.middleware.AuthenticationMiddleware",
"django.contrib.messages.middleware.MessageMiddleware",
"django.middleware.clickjacking.XFrameOptionsMiddleware",
# "myapp_system.operate_log.services.OperateLogMiddleware", # 操作日志开关:如果数据库磁盘IO性能一般,建议关闭
]中间件生命周期
process_request(request):在视图函数被调用之前执行,用于处理请求。如果返回 HttpResponse 对象,则后续的中间件和视图不会被调用,直接返回响应。process_view(request, view_func, view_args, view_kwargs):在视图函数被调用之前执行,可以用于根据视图函数的参数或请求信息进行额外处理。process_response(request, response):在视图函数返回响应后执行,用于处理响应对象,可以修改响应内容或响应头。process_exception(request, exception):当视图函数抛出异常时执行,用于处理异常并返回一个 HttpResponse 对象。内置中间件示例
django.contrib.auth.middleware.AuthenticationMiddleware:Django内置的认证中间件,实现将 user 属性添加到每个传入的 HttpRequest 对象中,表示当前已登录的用户class AuthenticationMiddleware(MiddlewareMixin):
def process_request(self, request):
if not hasattr(request, "session"):
raise ImproperlyConfigured(
"The Django authentication middleware requires session "
"middleware to be installed. Edit your MIDDLEWARE setting to "
"insert "
"'django.contrib.sessions.middleware.SessionMiddleware' before "
"'django.contrib.auth.middleware.AuthenticationMiddleware'."
)
request.user = SimpleLazyObject(lambda: get_user(request))process_view()中间件钩子函数
process_view(request, view_func, view_args, view_kwargs)None ,Django 将继续处理这个请求,执行任何其他的 process_view() ,然后执行相应的视图。HttpResponse 对象,Django 不会去影响调用相应的视图;它会将响应中间件应用到 HttpResponse 并返回结果。基于类的自定义中间件格式
response = self.get_response(request),将__call__()方法中的代码分为两部分class SimpleMiddleware:
def __init__(self, get_response):
# 执行一次性配置和初始化工作
self.get_response = get_response
def __call__(self, request):
# 每个请求调用一次,在视图函数被调用之前执行
response = self.get_response(request)
# 每个请求调用一次,在视图函数被调用之后执行
return response通过自定义中间件,实现Django操作日志记录功能
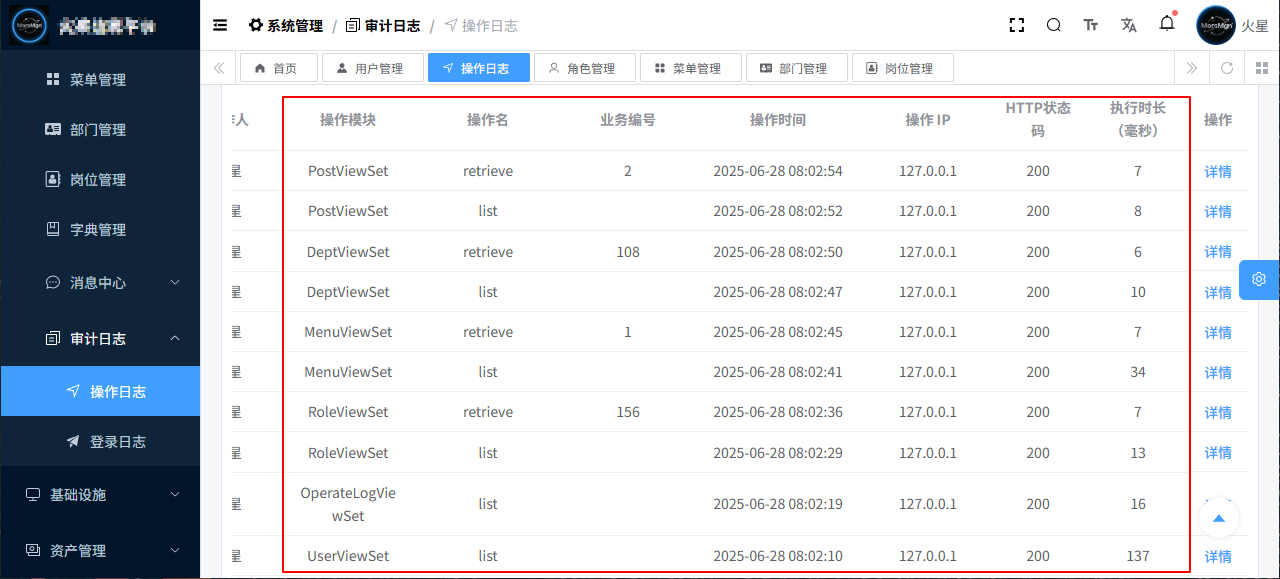
OperateLogMiddleware,方法__init__()中,添加exclude_urls排除不需要记录的URL的列表,和一个字典log_data用于临时存放日志信息。
log_data记录请求方法、请求路径、操作IP、浏览器Agent信息等
log_data记录用户ID、业务状态码、HTTP状态码、响应数据、返回结果和执行时间
process_view()中间件钩子函数中,向字典log_data记录视图名称、Action名称、资源ID
第5步:字典log_data记录的操作日志信息,通过Celery异步任务,写入数据库。实现操作日志记录功能。
代码运行效果:

您正在阅读的是《Django从入门到实战》专栏!关注不迷路~
原创声明:本文系作者授权腾讯云开发者社区发表,未经许可,不得转载。
如有侵权,请联系 cloudcommunity@tencent.com 删除。
原创声明:本文系作者授权腾讯云开发者社区发表,未经许可,不得转载。
如有侵权,请联系 cloudcommunity@tencent.com 删除。