
打印机修复助手是一款打印机综合修复工具。打印机修复助手专业快速处理各种打印机问题,集合了综合修复、错误修复、打印机驱动安装三大功能,
打印机修复助手可以一键修复因更新补丁导致的打印机共享连接失败问题,例如最近出现连接Win10和Win11共享打印机时报错,打印机错误代码0x0000011b、0x00000709等问题。支持最新Win11 24H2无法方法共享打印机问题,支持最新win11 24h2修复0x0000011b和0x00000709错误问题。

独家修复LaserJet Pro MFP M126nw,LaserJet Pro MFP M126A,LaserJet Pro MFP M128FW驱动问题导致各种报错,特别是win7系统下,采用特殊机型故障处理修复即可

独家修复windows11 24h2由策略限制导致的报错问题(你计算机上一个有效的策略使你无法连接到此打印队列),采用打印权限状态修复即可。

1.综合修复功能
只综合修复功能能将错误修复与打印机驱动的功能整合为一个综合修复功能,不仅能够扫描出打印机依赖的组件和设置问题,还能扫描对应的驱动。
2.错误修复
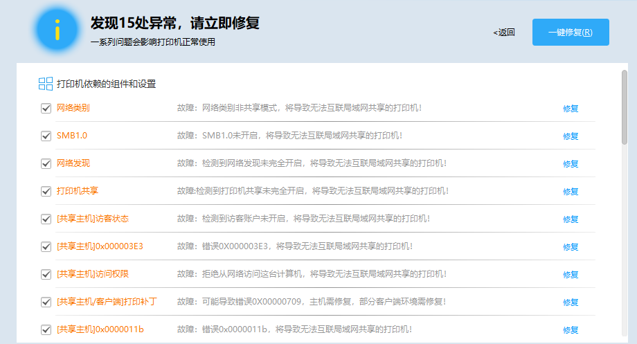
支持安全、快速、高效的检测修复当前打印机依赖的组件和设置问题。包含系统打印机服务、工作状态、卡纸状态、在线状态、打印作业、共享打印机等从而延长打印机的使用寿命,降低维修成本。
3.打印机驱动
可快速扫描当前连接打印机需要的驱动,在扫描出的打印机驱动中可选择相关打印机驱动版本进行修复安装。
支持目前最新win10或win11系统访问共享打印机相关0x0000011b和0x00000709问题,支持一键修复。

原创声明:本文系作者授权腾讯云开发者社区发表,未经许可,不得转载。
如有侵权,请联系 cloudcommunity@tencent.com 删除。
原创声明:本文系作者授权腾讯云开发者社区发表,未经许可,不得转载。
如有侵权,请联系 cloudcommunity@tencent.com 删除。