
据证监会官网显示,国内服务器大厂超聚变数字技术股份有限公司(以下简称“超聚变”)于2026年1月6日正式启动上市辅导,中信证券担任辅导机构。

超聚变的前身是华为的X86服务器业务部门。2021年四季度,华为将X86服务器业务剥离后成立超聚变,并落户河南郑州。随后,华为在同年11月将超聚变全部权益出售予河南国资旗下的河南超聚能科技有限公司(以下简称“河南超聚能”)。随后,超聚变进行了8轮融资,引入了其他国资及产业资本在内的多元化股东。
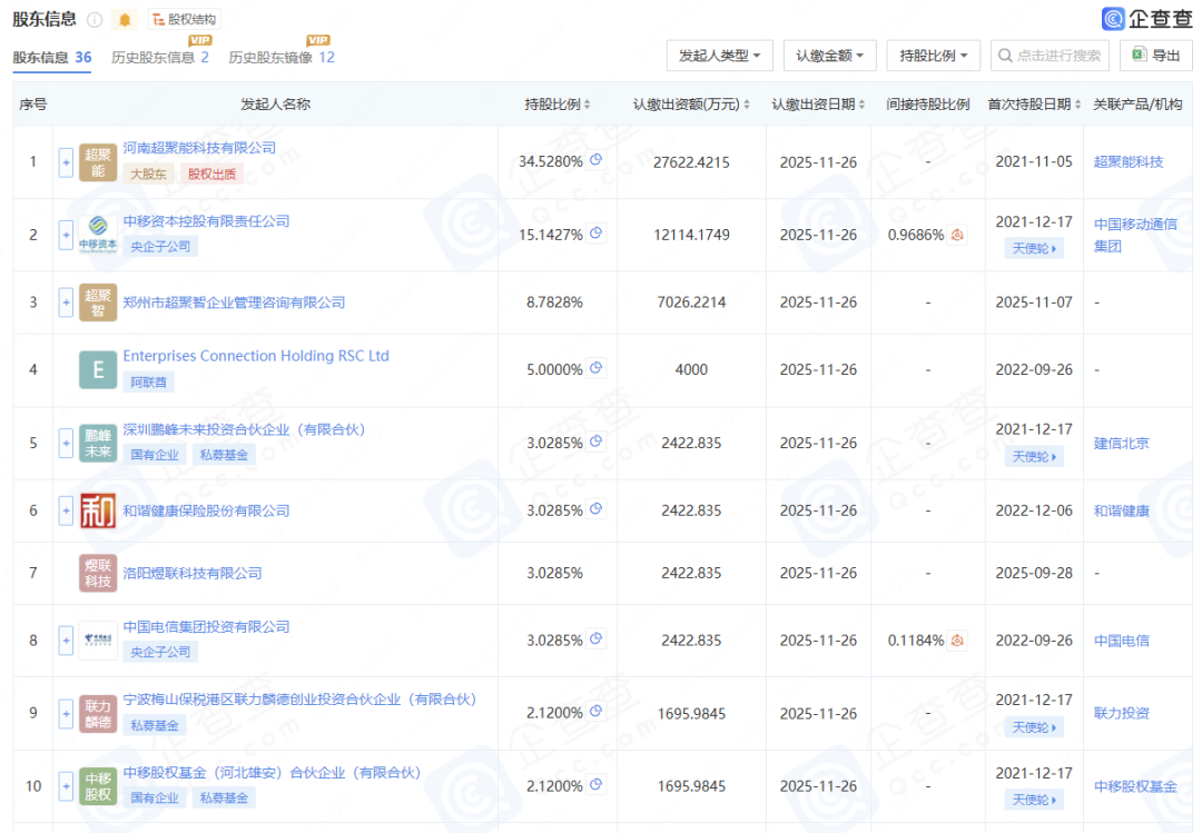
企查查资料显示,超聚变目前共有36名股东,其第一大股东为持股34.5280%的河南超聚能科技有限公司。其他股东还包括中移资本控股有限责任公司、中国电信集团投资有限公司、中国互联网投资基金(有限合伙)、中国国有企业结构调整基金二期股份有限公司等。

根据官方资料显示,超聚变是全球领先的算力基础设施与算力服务提供商,总部位于河南省郑州市郑东新区北龙湖,主要聚焦硬件、软件、工程三大根技术,提供广覆盖的算力基础设施与服务,业务范围涵盖服务器、操作系统、AI开发平台、超融合解决方案、高性能计算以及数据库解决方案等方面。
超聚变在全球部署11个研发中心与6大供应中心,并设立6个全球技术服务中心与7个地区部,12个核心实验室 ;服务全球130多个国家地区客户和223家世界500强企业。2025年3月1日,超聚变总部基地及研发中心投入使用。
市场地位方面,超聚变已连续四年入选全球独角兽企业,位居中国液冷服务器市场第一、AI服务器市场第一。
营收方面,2024年公司销售收入突破400亿元。2025年初,超聚变董事长刘宏云透露,一季度该公司营收再翻倍,2025全年营收目标将突破500亿元。
值得一提的是,在2025年世界人工智能大会上,超聚变还展出了全球首个多元智算即插即用超级集群系统,单柜128张AI加速卡。此外,超聚变已经构建起从算力支撑到AI数据平台搭建,再到商业智能体构建与业务设计咨询的全栈解决方案,展出了上百个AI场景实践案例。
编辑:芯智讯-浪客剑