现象描述
启动分类分级任务时,没有扫描结果显示。

可能原因
数据安全治理中心的治理范围仅限于授权范围管理中绑定的数据资产。如果数据资产未绑定,则不会进行分类和分级。
解决方案
请检查数据库或对象存储以确认数据资产是否已绑定。如果尚未绑定,请按照以下步骤进行数据资产绑定操作。
数据库资产绑定操作指引
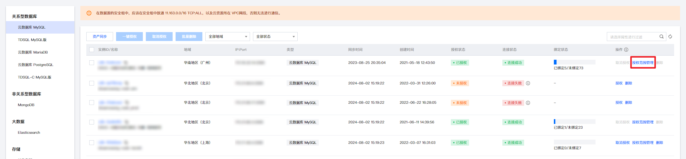
1. 登录 数据安全治理中心控制台。
2. 在左侧的导航栏中,单击资产管理 > 数据源管理。
3. 在数据源管理页面中,根据您的需求选择相应的数据源类型,即可展示对应的数据源列表。
4. 在数据源列表中,选择需要绑定的数据库,单击操作栏中的授权范围管理。

5. 在授权范围管理弹窗中,选择需要进行后续安全治理的数据库 DB,单击操作栏中的绑定即可。

说明:
资产绑定操作将消耗您当前选定实例下所购买的数据库(DB)资源。
对象存储绑定操作指引
1. 登录 数据安全治理中心控制台。
2. 在左侧的导航栏中,单击资产管理 > 数据源管理。
3. 在数据源管理页面中,选择对象存储。
4. 在数据源列表中,选择需要绑定的 COS 资产,单击操作栏中的绑定即可。

说明:
资产绑定操作将消耗您当前选定实例下所购买的 COS 授权容量资源。