功能简介
防火墙管理控制台提供日志管理功能,用于审计与追溯您的关键操作。该功能覆盖“策略管理”与“策略分析”两个模块,支持按时间范围筛选,并可组合多种资源属性进行精细化查询,帮助您快速定位目标日志并查看详情。
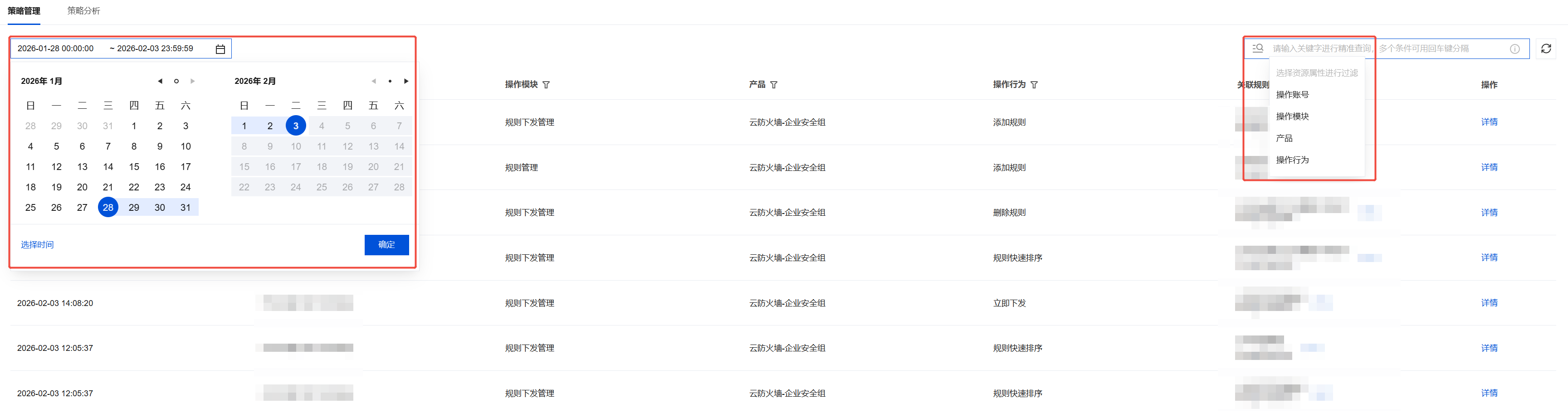
策略管理
1. 登录 防火墙管理控制台,在左侧导航中,选择日志管理。
2. 单击操作日志 > 策略管理。系统将默认展示近期的操作记录列表。
3. 在策略管理页面,您可以查看操作时间、操作账号、操作模块、操作行为等信息。
4. 您可以通过选择时间范围,并组合选择多种资源属性(如操作账号、操作行为等)进行精确查询,以快速过滤出目标记录。

5. 单击目标记录操作列的详情,即可查看该条操作日志的详细信息。
查看规则管理模块的日志详情时,可查看对应规则组的基础信息及对应的规则信息。

查看规则下发管理模块的日志详情时,可查看相关下发规则的具体信息。

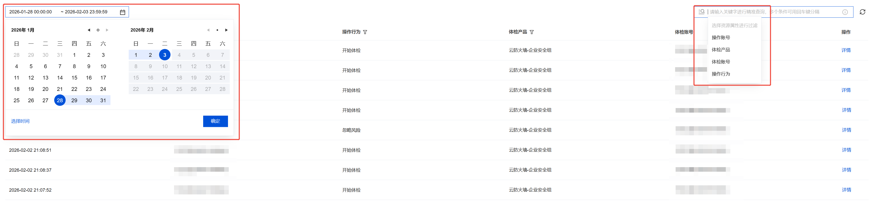
策略分析
1. 登录 防火墙管理控制台,在左侧导航中,选择日志管理。
2. 单击操作日志 > 策略分析。系统将默认展示近期的操作记录列表。
3. 在策略分析页面,您可以查看操作时间、操作账号、操作行为、体检产品等信息。
4. 您可以通过选择时间范围,并组合选择多种资源属性(如操作账号、操作行为等)进行精确查询,以快速过滤出目标记录。

5. 单击目标记录操作列的详情,即可查看该条操作日志的详细信息。
查看忽略风险、处置风险以及取消忽略行为的日志详情时,可查看对应风险的基础信息及对应的风险规则信息。

查看反馈误报行为的日志详情时,可查看对应风险的基础信息、反馈误报信息以及对应的风险规则信息。

查看开始体检行为的日志详情时,可查看进行体检的产品信息、账号信息以及体检策略数量。
