收支明细简介
收支明细页面元素
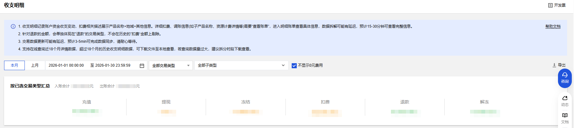
表格筛选选项

交易时间:默认显示本月收支明细,可选择任意时间段收支明细。
交易类型:默认为全部,可选择充值、退款、解冻、资金转入、垫付、提现、扣费、冻结、资金转出、垫付回款。
入账包括充值、退款、解冻、资金转入和垫付五种交易类型。
出账包括提现、扣费、冻结、资金转出和垫付回款五种交易类型。
扣费类型:默认为全部,可选择预付费支付、按量小时结、按量日结、按量月结、调账扣费、其他扣费。
是否显示0元费用:默认不显示,可选择显示0元费用明细。
按已选交易类型汇总:汇总选定时间段内入账和出账总金额,及各项交易类型汇总金额。
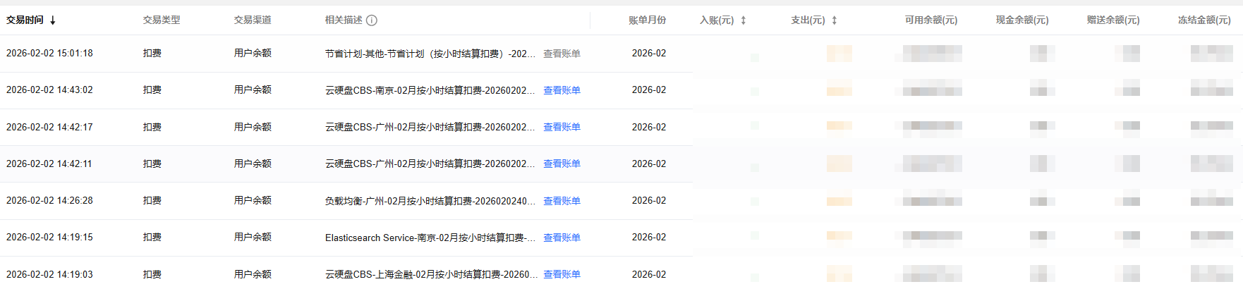
表头字段说明

交易时间:本次交易的时间点。
交易类型:本次交易的类型,分为充值、退款、解冻、资金转入、垫付、提现、扣费、冻结、资金转出、垫付回款。
交易渠道: 本次交易的渠道,分为用户余额 、微信、QQ钱包、网银、 专属账号汇款、旧版线下汇款。其中微信、QQ钱包、网银为线上充值;专属账号汇款、旧版线下汇款为线下充值; 提现、资金转入、资金转出、冻结、解冻、退款、垫付回款时,交易渠道是用户余额;垫付时不记录渠道,显示 “--”。
相关描述:描述信息为产品名称+地域+其他信息。
如计费方式为后付费则显示为:
产品名称-地域-月份按{结算周期}扣费,其中结算周期包括小时结、日结、月结。如计费方式为预付费则显示为:
产品名称-地域-{交易类型}-订单号,其中交易类型包括新购、续费、变配、退款。注意:
账单月份:本次交易账单月份。
入账(元):本次交易入账金额,单位为“元”。
支出(元):本次交易支出金额,单位为“元”。
可用余额(元):本次交易之后账户的可用余额,单位为“元”。
现金余额(元):本次交易之后账户的现金余额,单位为“元”。
赠送余额(元):本次交易之后账户的赠送金余额,单位为“元”。
冻结余额(元):本次交易之后账户的冻结余额,单位为“元”。
说明:
按统计周期,如果 UIN 是扣费周期,则使用交易时间对应的月份和账单进行对账。如果 UIN 是计费周期,则使用账单月份和账单进行对账。
在2021年5月1日之后增加账单月份,支持在此之后按照计费周期的用户,使用账单月份和账单进行对账。
收支明细中不包含代金券金额和代付金额,账单中不包含代付金额。收支明细和账单对账时请使用现金支付和赠送金支付。
支持在线查询近18个月详情数据,超过18个月的历史收支明细数据,可下载文件至本地查看。