从风险项与资产双视角,全面呈现风险详情、关联的资产与告警信息、风险等级及处置状态,辅助安全团队评估风险优先级并跟踪风险处置过程。
风险项视角
从风险项视角聚焦风险详情及关联受影响的存储桶资产,可按风险项维度精准定位并处置对应受影响的存储资产,提升风险处置的针对性与效率。
风险列表
1. 登录云安全中心控制台,在左侧导览中,单击数据安全态势感知 > 对象存储异常监测。
2. 在对象存储异常监测页面,单击风险。
3. 在风险 > 风险项视角中,基于风险项视角自动化扫描存储桶权限配置,识别存在风险的存储桶,并展示风险检出时间以及风险等级。

风险项详情
1. 在风险 > 风险项视角中,选择所需资产,单击详情。

2. 在风险项详情页面,查看风险项基本信息、受影响存储桶以及配置建议。
查看风险项基本信息。

查看受影响存储桶列表,默认显示未处理风险的存储桶。

风险详情
1. 在风险项详情 > 受影响存储桶页面,选择所需账号,单击风险详情。

2. 在风险详情页面,查看风险基本信息、风险证据以及描述、风险相关接口调用情况以及配置建议。
查看风险基本信息,风险基本信息包括:受影响存储桶名称、存储桶地域、存储桶备注、标签、账号名称、APPID。

查看风险描述与证据,该风险详情的证据包括:权限来源/内容、策略 ID /授权策略名称、授权资源、授权操作。

查看风险相关接口调用情况以及配置建议。

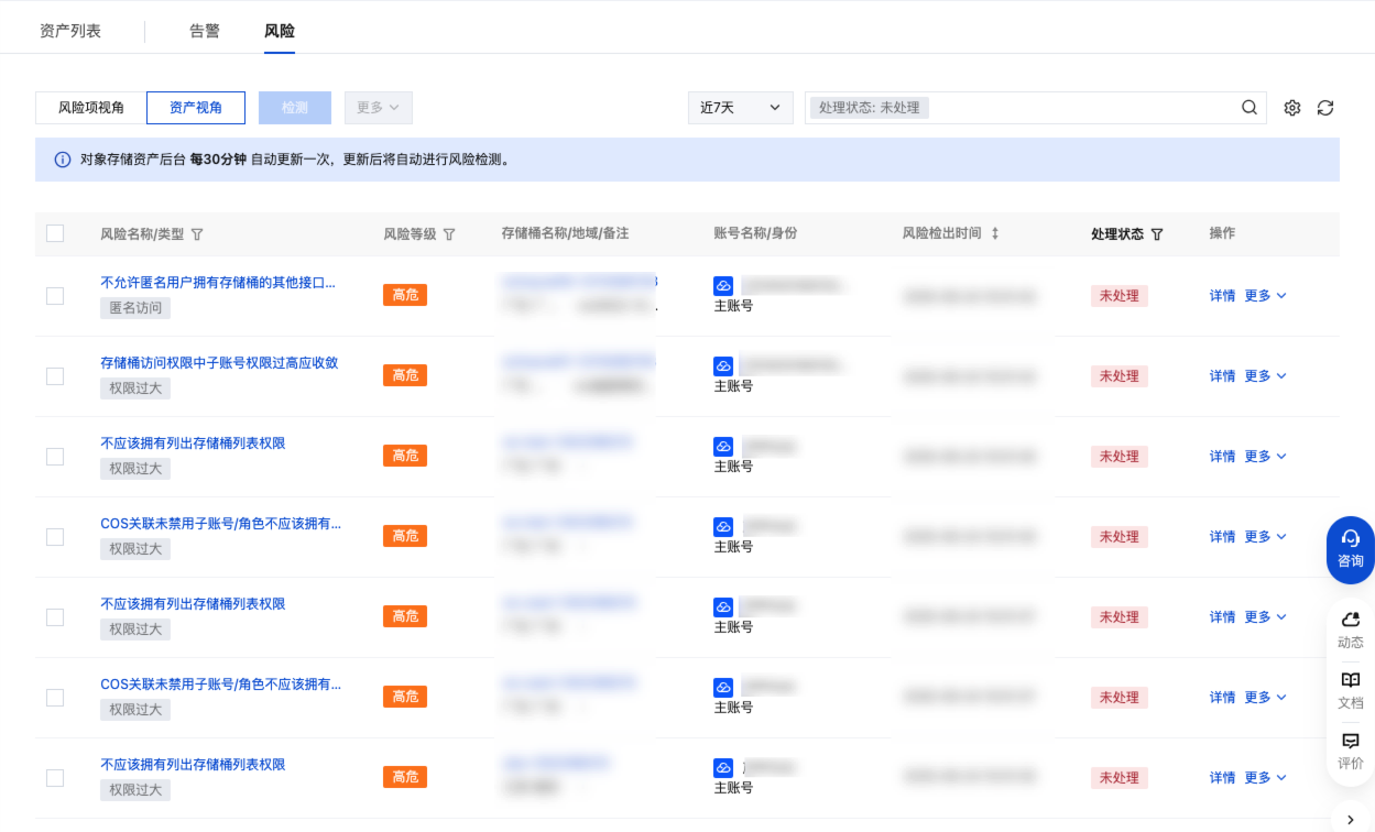
资产视角
从资产视角聚焦单存储资产所触发的所有风险项、及处置状态,实现对单资产风险的处置跟踪,精准评估风险对资产安全的影响,支撑资产安全的持续保障。
风险列表
1. 登录云安全中心控制台,在左侧导览中,单击数据安全态势感知 > 对象存储异常监测。
2. 在对象存储异常监测页面,单击风险。
3. 在风险 > 资产视角中,基于资产视角自动化扫描 AK 权限配置, 识别存在风险的存储桶,并清晰列出每项风险对应的受影响账号。

风险详情
1. 在风险 > 资产视角页面,选择所需风险名称,单击详情。

2. 在风险详情页面,查看风险基本信息、风险证据以及描述、风险相关接口调用情况以及配置建议。
查看风险基本信息,风险基本信息包括:受影响存储桶名称、存储桶地域、存储桶备注、标签、账号名称、APPID。

查看风险描述与证据,该风险详情的证据包括:权限来源/内容、策略 ID/授权策略名称、授权资源、授权操作。

查看风险相关接口调用情况以及配置建议。

风险处置
标记忽略
1. 在风险 > 资产视角,支持单个或者批量处理目标风险:
单个处置:单击目标风险操作列中的更多 > 标记忽略。

批量处置:在风险页面,选择多个目标风险,单击更多 > 标记忽略。

2. 在二次确认中,单击确定,即可将该风险标记为已忽略。