审计日志从 SQL 语句的维度,帮您进行安全分析。
检索审计日志
1. 登录 数据安全审计控制台,在左侧导航栏中,单击基础审计 > 审计日志。
2. 在审计日志页面,可根据具体数据资产名称检索,还可以按最近一小时、今天、昨天、本周、上周、本月、上月、近半年、自定义日期检索。

3. 如需对审计日志进行指定检索。单击高级筛选,可根据用户名、命中规则、风险等级、客户端 IP 、事件类型、表名、字段名等关键字,输入具体值,单击查询,即可查看相关信息。

查看审计日志
1. 登录 数据安全审计控制台,在左侧导航栏中,单击基础审计 > 审计日志。
2. 在审计日志页面的日志列表中,选择所需日志,单击详情,进入审计日志详情页面。

3. 在审计日志详情页面,可查看该条日志的基本信息、详细信息。

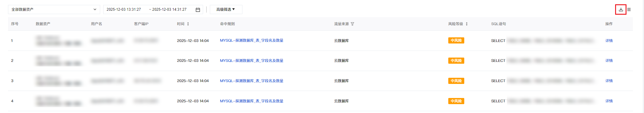
下载审计日志
1. 登录 数据安全审计控制台,在左侧导航栏中,单击基础审计 > 审计日志。
2. 在审计日志页面,单击右侧的
,进行审计日志的下载。


3. 审计日志将根据当前筛选条件进行下载,单击确定。

4. 单击 
前往下载任务列表,查看并管理下载任务。

单击导出,即可将任务下载至本地。
单击删除,经过二次确认后,即可删除所选任务。
注意:
日志每次最大可导出 1 GB,已完成的任务仅保留一天,请及时下载日志。
