
开源软件已成为数字世界的基石,其爆发式增长在加速创新的同时,也急剧扩大了软件供应链的攻击面。 海量二进制文件中潜藏的过时组件、未披露漏洞,如同隐蔽的“供应链地雷”,严重威胁着业务安全。传统依赖规则、特征码或人力的分析手段,面对碎片化、多态化的二进制世界,深陷效率低下、覆盖不足、响应滞后的困境。Log4j、Spring4Shell等重大漏洞的频发,更凸显了在二进制层实现智能化深度分析的迫切性。
在XCon2025大会中,来自腾讯安全科恩实验室的安全研究员,将带来议题《BinaryAI:大模型时代下的二进制安全智能化分析》。深度阐述如何依托团队自研的二进制函数语义匹配大模型核心引擎,引领安全的智能化变革。该模型将二进制代码与源代码映射至同一高维语义空间,精准捕捉跨形态的深层语义关联,高效应对传统分析中语义鸿沟的难题。这一突破不仅提升了函数相似度计算与检索的精度,更成为支撑高精度软件成分分析(SCA)、免特征码的下一代恶意文件检测、智能溯源与可解释报告等核心能力的智能化底座,为构建主动、精准、高效的软件供应链安全防线奠定了坚实基础。
近年来,开源软件成长迅速,已经成为软件开发的重要组成部分,这为全球广大开发者带来便利的同时,也形成了更多的暴露面。开源软件引发的安全问题揭示了两点问题:一是开源代码在面临漏洞时可能影响范围比商业软件更广,引用问题代码的软件都可能中招,造成极大的危害;二是开发人员的安全意识薄弱可能使代码碎片化程度高,引入过时、有漏洞的开源组件版本,因此需要一种有效的方法来保障软件的安全。
在这样的业务背景下,科恩基于自身应用与实践经验开发出一款通过分析文件的二进制代码,以 AI 算法为核心能力的安全检测平台。通过分析文件的二进制代码,为用户提供二进制文件解析、软件成分分析等安全检测功能,解决二进制文件面临的检测困难,帮助安全研究人员分析文件组成,最后以清晰可读的网页报告呈现给用户,用于进一步分析文件的安全问题。
该平台为广大平台用户提供了包含:软件成分分析、交互式分析、恶意文件检测、AI 智能总结与搜索在内的多个二进制文件安全分析能力。
BinaryAI 自 2021 年对外发布上线以来,为广大平台用户提供了包含:
在内的多个二进制文件安全分析能力。
随着底层分析引擎持续迭代升级,BinaryAI 已深度集成至腾讯云安全产品矩阵,包括:




地址为:https://www.binaryai.cn/home

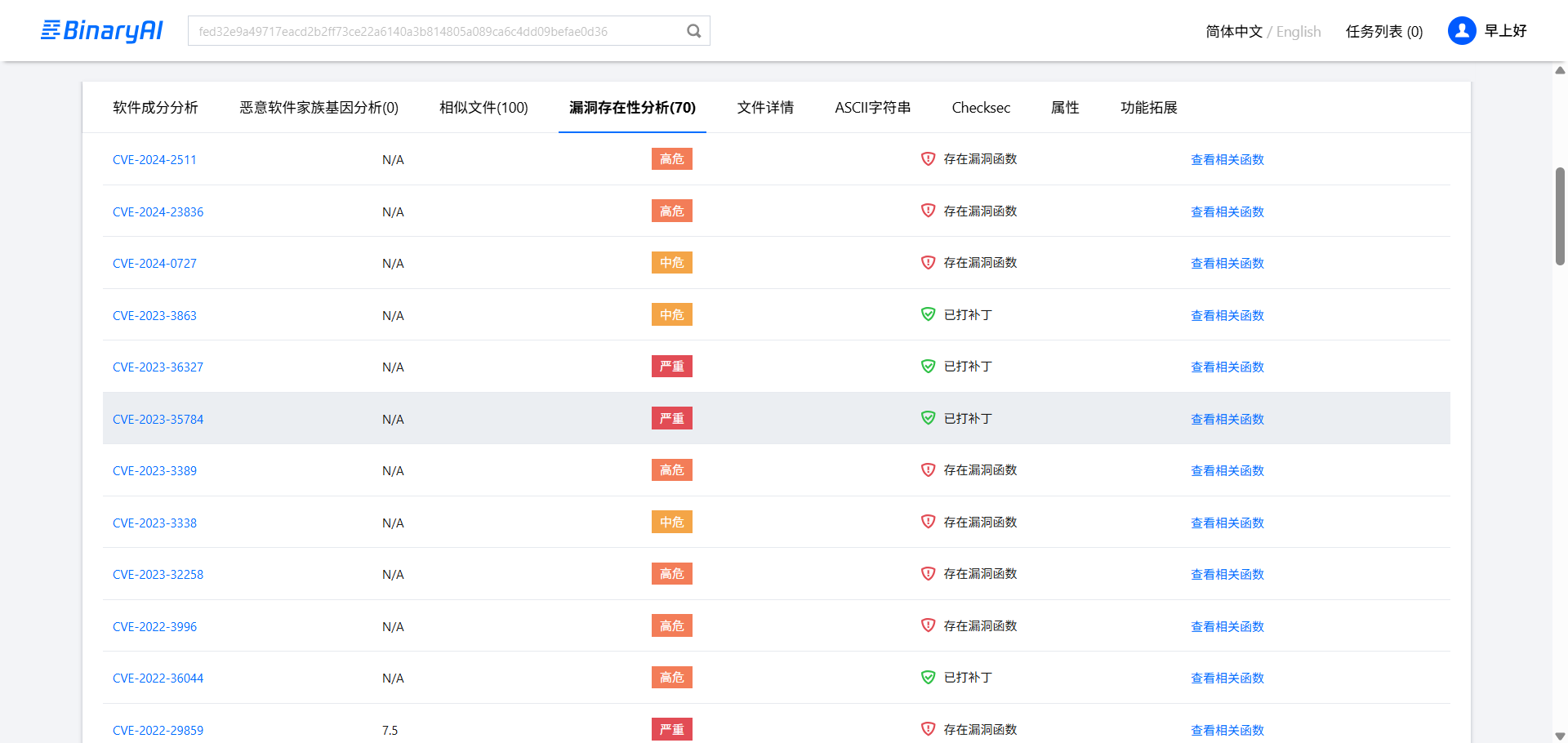
我们以openssl_1.0.1f为例:

直接选择后,会给出漏洞存在性分析

我们点击右上角的交互式分析,可以直接查看对应部分二进制代码:

这里我提交了一个木马文件,也是成功的识别出了:

但是这边的显示还是太轻量级了,如果要查看到详细的,我们可以在https://console.cloud.tencent.com/bsca/sca/index 腾讯云平台的制品分析功能下面:

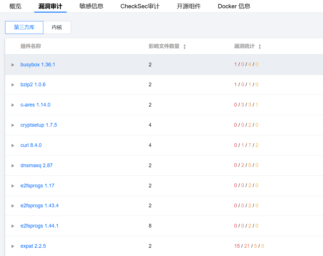
以某大厂WIFI产品为例,也是扫描出了数个漏洞:




初步看了一下,存在一定的误报,但涉及组件漏洞极多,暂时没详细验证,大概率还是会涉及到的,后面会继续结合IDA来做详细的漏洞分析的。
写这篇文章就是想说,这个平台其实很像我们过去在代码审计中常用的打点工具,只是比传统的工具更加强大,而且是大厂出品,效果自然也不用太担忧了。
当然,工具终究是辅助手段,真正的安全对抗仍离不开人的判断与经验,依然需要扎实的逆向功底和安全直觉。
原创声明:本文系作者授权腾讯云开发者社区发表,未经许可,不得转载。
如有侵权,请联系 cloudcommunity@tencent.com 删除。
原创声明:本文系作者授权腾讯云开发者社区发表,未经许可,不得转载。
如有侵权,请联系 cloudcommunity@tencent.com 删除。