说明:
V11.x 系列版本(11.0、11.1、11.2 及后续版本)均属于 V11.0 大版本更新范畴。
iOA 零信任安全管理系统(SaaS)V11.0 版本灰度发布中,当前暂未全量更新。
通过数据地图对终端敏感文件进行采集与管控。
敏感数据采集:支持扫描全网终端文件,并根据分级分类规则对敏感文件进行采集上报。
敏感数据管控:支持对已采集敏感文件进行检索、导出、提取、远程删除等操作。
1. 登录 iOA 零信任管理平台控制台,在左侧导航栏,选择数据地图 > 数据地图。
2. 在数据地图页面,展示敏感数据趋势图以及过去一段时间的敏感文件、人员、设备数据。
支持时间段选择:今天、近7天、近30天以及自由选择时间查询。
支持文件类型、规则分类查询。

支持按敏感程度分级,分为S6、S5、S4、S3、S2、S1,并分别展示目前外发数据中各敏感等级下数据数量。

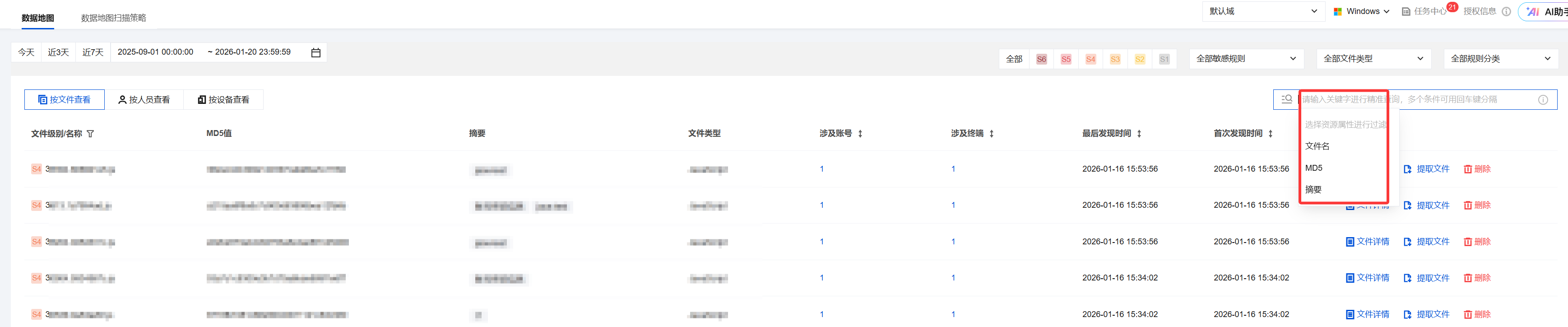
按文件查看
1. 在文件列表中,支持按文件名称、MD5、摘要进行搜索。

2. 在文件列表中,单击对应的“涉及账号数”和“涉及终端数”,支持查看文件涉及账号/终端。

3. 在文件列表中,单击文件详情,支持查看对应的文件名称、风险等级、类型等。

4. 在文件列表中,单击提取文件 > 提取,提取成功后该文件支持下载。

按人员查看
1. 在人员列表中,展示员工的相关文件信息,并支持通过账号、姓名、所在部门、终端名称进行搜索。

2. 在人员列表中,单击“涉及文件数”,可以查看文件级别、摘要、类型、最后发现时间、首次发现时间等信息。

按设备查看
1. 在设备列表中,展示设备的相关文件信息,并支持通过账号、姓名、所在部门、终端名称进行搜索。

2. 在设备列表中,单击“涉及文件数”,可以查看文件级别、摘要、类型、最后发现时间、首次发现时间等信息。
