功能简介
规则下发管理用于将规则组部署到指定的云产品与账号。您可在此页面,对支持的云安全产品的规则组进行下发、管理与监控。
操作步骤
1. 登录 防火墙管理控制台,在左侧导航中,选择策略管理 > 规则下发管理。
2. 单击云防火墙-企业安全组,切换到云防火墙-企业安全组界面。
新建下发规则
1. 在规则下发管理页面,单击新建下发规则。
2. 在新建下发规则页面,配置以下参数:

参数名称 | 说明 |
下发产品 | 选择 云防火墙-企业安全组。 |
下发账号 | 选择规则需要下发到的目标账号。 |
最先执行 | 配置优先级最高(最先执行)的规则组,单击新加一条以添加。 |
优先级 | 规则执行的先后顺序,数字越小优先级越高。仅首条规则的优先级可编辑,后续规则优先级自动递增。 说明: 仅支持编辑首条规则的优先级,其后的规则会依次递增;原优先级所在的规则会自动递延。 长按鼠标左键,即可拖动排序所创建的规则组策略,优先级也会随之变动。 |
规则组名称 | 从下拉列表中选择需要下发的规则组。 说明: |
规则数量 | (自动显示)所选规则组内包含的规则总数。 |
操作 | 规则组详情:查看该规则组的基础信息与规则列表。 移除:从当前编排中移除此规则组。 |
最后执行 | 配置优先级最低(最后执行)的规则组,单击新加一条以添加。参数说明同规则组策略编排-最先执行。 |
3. 参数配置完成后,您可以选择以下操作:
保存并预览变动:保存下发规则组,并预览下发规则关联实例所绑定的安全组规则变动。
确认无误后,单击立即下发可执行下发。
也可单击关闭,系统将保存您的下发规则并返回规则下发管理页面。
立即下发:下发此规则以及所有安全产品中所有的未下发、待下发以及下发失败规则。
保存:保存至规则下发管理列表,后续需在规则下发管理列表中手动单击立即下发才会生效。
管理下发规则
查询规则
您可以通过列表上方的搜索框,输入规则组下发ID、规则组名称等关键字进行查询,多个条件可用回车键分隔。

快速排序
规则在列表中的自上而下顺序代表其优先级从高到低。如需调整,请按以下步骤操作:
1. 单击列表上方的快速排序。
2. 将鼠标悬停在需调整的规则行上,光标变为拖动图标时,按住左键上下拖动。
3. 调整至目标位置后,单击保存。列表上方规则的优先级高于下方规则,系统会自动更新优先级数值。
下发规则
规则下发有两种主要方式:
预览后下发:在新建、编辑下发规则时单击保存并预览变动,或在规则下发管理列表页面单击预览变动,将在新页面展示规则变更详情。确认无误后,单击该页面的立即下发。
直接下发:在新建、编辑下发规则时单击立即下发,或在规则下发管理列表页面单击立即下发,将直接触发下发流程。
注意:
下发会将所有安全产品中所有的未下发、待下发以及下发失败规则进行下发。

编辑规则
1. 在目标规则的操作列中,单击编辑,进入编辑页面。

2. 在编辑页面,您可以修改“规则组策略编排”中的规则组优先级和规则组名称。

优先级:规则执行的先后顺序,数字越小优先级越高。仅首条规则的优先级可编辑,后续规则优先级自动递增。
说明:
仅支持编辑首条规则的优先级,其后的规则会依次递增;原优先级所在的规则会自动递延。
长按鼠标左键,即可拖动排序所创建的规则组策略,优先级也会随之变动。
规则组名称:从下拉列表中选择需要下发的规则组。
说明:
单击规则组详情,可查看该规则组的基础信息与规则列表。
3. 参数配置完成后,您可以选择以下操作:
保存并预览变动:保存下发规则组,并预览下发规则关联实例所绑定的安全组规则变动。
确认无误后,单击立即下发可执行下发。
也可单击关闭,系统将保存您的下发规则并返回规则下发管理页面。
立即下发:下发此规则以及所有安全产品中所有的未下发、待下发以及下发失败规则。
保存:保存至规则下发管理列表,后续需在规则下发管理列表中手动单击立即下发才会生效。
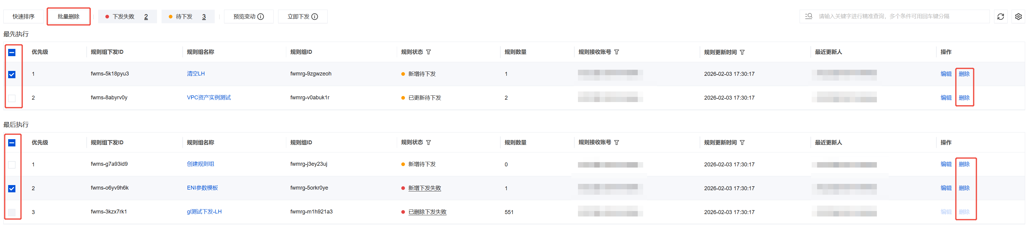
删除规则
单条删除:在目标规则的操作列中,单击删除。
批量删除:先勾选多个规则,再单击列表上方的批量删除。

注意:
删除后的规则无法恢复。
"新增待下发"状态规则会直接从列表移除。
"已生效/已更新待下发"状态规则则会转为"已删除待下发"状态,需要单击立即下发才可生效。