腾讯云直播支持通过异常事件功能,让您能够快速查看直播推流过程中发生的异常事件。此外,通过查看主备流事件,您可以了解主备流的状态。
前提条件
注意事项
推流异常事件查询
1. 在直播推流出现异常后,选择左侧菜单栏中的业务监控 > 异常事件记录,进入异常事件页面。
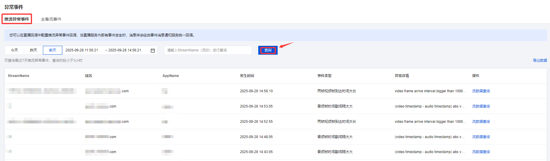
2. 在异常事件页面中,支持通过流 ID 进行查询,可查询最近7天推流异常事件,查询时段小于3小时的数据。

主备流事件查询
1. 选择左侧菜单栏中的业务监控 > 异常事件记录,进入主备流事件页面。
2. 在主备流事件页面中,支持通过流 ID 进行查询,可查询最近7天主备流事件,查询时段小于3小时的数据。

事件类型
事件类型见下表:
序号 | 事件类型 |
1 | 视频时间戳回退 |
2 | 音频时间戳回退 |
3 | 视频时间戳突然变大 |
4 | 音频时间戳突然变大 |
5 | chunk size 太大 |
6 | 两帧视频帧到达时间太长 |
7 | 两帧音频帧到达时间太长 |
8 | 视频编码类型发生变化 |
9 | 音频编码类型发生变化 |
10 | 视频帧到来前没有 codec 头 |
11 | 音频帧到来前没有 codec 头 |
12 | 视频头无法解析 |
13 | Chunk Size 过大 |
14 | 视频帧率过低 |
15 | 音频帧时间戳间隔太大 |
16 | GOP Size 过大 |
17 | 音视频编解码格式不常用 |