预算管理功能从客户内部经营管理诉求出发,帮助腾讯云客户设置预算、追踪预算、分析预算。同时,腾讯云推出 AI 预算管理功能,依托 AI 技术,基于成本数据智能辅助用户创建预算,降低使用门槛,提升预算功能使用效率。对已创建预算的用户,AI 通过分析历史消耗行为、预算执行及告警记录,自动生成预算配置优化建议,实现预算管理的智能决策与资源高效分配,助力企业降本增效。
操作步骤
手动创建预算
1. 登录 费用中心控制台。
2. 在左侧导航栏中,选择成本管理 > 预算管理,进入预算管理页面。
3. 单击新建预算。

4. 在新建预算页面,可根据需要选择自定义预算、也可直接使用零支出预算、月度费用预算。
4.1 在编辑预算页面,按需填写相关信息。

基本信息:根据需要设置便于区分的预算名称,该名称将会展示在预算列表。
编制信息:
预算周期:支持按照年度、季度、月度、日设置预算周期。
预算生效时间:支持有效期生效和持续性生效。区别是持续性生效没有截止时间,可持续生效。
注意:
持续性生效有无限个周期,编制方式仅支持固定预算,不支持计划预算。
计划预算最多设置12个周期的预算值,取决于您选择的有效期范围。若周期数目更多,则后续预算会沿用第12个周期值。不建议配置过多计划预算。
有效期:设置的预算金额仅在该时间段内生效,如果选择了持续性生效则为某日起永久生效。
编制方式:支持固定预算和计划预算。
每日/月/季度/年预算金额:您计划在预算周期内的成本金额。
编制方式为固定预算:可设置每月预算为固定金额。
编制方式为计划预算:可设置每个周期预算为不同金额。
费用范围:
默认为全部费用,推荐您为全部费用统一配置预算。
支持自定义费用范围,目前支持的自定义维度有:产品、计费模式、子产品、项目、地域、可用区、交易类型(消耗类型)、标签、支付者账号、使用者账号、分账单元。

说明:
1. 每个维度下会基于您历史消费记录拉出清单,支持多选。
2. 集团管理账号可在“成员财务授权”为成员账号分配预算管理权限,详情请参见 添加组织成员。分配权限后,集团管理账号可以为成员账号配置预算,配置的预算展示在集团账号下。
高级设置:在高级设置中,您可以设置成本属性进一步个性化自己的预算。
账单口径
费用账单:基于收付制设置预算,腾讯云默认使用费用账单口径,基于总费用(即折扣价)配置预算。
消耗账单:基于权责发生制设置预算,消耗账单口径一般用于客户希望管理摊销成本的场景。如需使用消耗账单口径,您需要先开通 消耗账单。
费用类型:支持总费用(折扣价)、原价费用(排除优惠影响)、现金、赠送金、优惠券、分成金。
说明:
日预算展示历史20天的成本;月预算展示历史12个月的成本;季度预算展示历史4个季度的成本;年预算展示历史每年的成本。
可视化图形介绍:在配置预算过程中,腾讯云提供相应历史成本的可视化图表,展示在预览页签中,可协助您参考历史费用来设置预算。

辅助图表与成本分析功能打通,会随您配置参数自动调整成本范围,展示相应成本。您也可以单击成本分析跳转到成本分析页面进行更详细的历史分析。
您配置的预算值及后续步骤配置的告警阈值,也将体现在其中。
4.2 以上信息填写完后,单击下一步:设置提醒,在设置提醒页面,按需填写相关信息

阈值提醒:基于每个预算,最多可设置3组预警。
实际费用:按您的实际消费金额进行预警。
固定值:您可以根据需要设置一个固定的金额,达到或超过该金额时触发预警。
预算金额的百分比:基于您设置好的预算金额,设置百分比阈值,达到或超过该金额时触发预警。
波动提醒:波动告警用于检查预算生效期间,日或月的异常上升情况。支持同比、环比、固定值比较。最多可设置3组提醒。
日预算中支持如下周期波动检查:日环比(与上一天比较);日同比(与上个月同一日比较);日固定值。
月及月以上预算支持如下周期波动检查:日环比(与上一天比较);日同比(与上个月同一日比较);日固定值(与固定值相比),月环比(与上一月比较),月固定值(本月与固定值相比)。
各波动类型计算公式如下:
波动类型 | 计算公式 | 备注 |
日环比 | (今日金额 - 昨日金额) / 昨日金额 * 100% | 为避免按量月结费用在1号显著影响分析,日环比不覆盖按月结算费用 |
日同比周维度 | (今日金额 -上周今日金额)/ 上周今日金额 * 100% | 为避免按量月结费用在1号显著影响分析,日同比不覆盖按月结算费用 |
日同比月维度 | (今日金额 -上月今日金额)/ 上月今日金额 * 100% | 在日同比中,若本日金额找不到上月同一日,例如,5月31日找不到4月31日数据,则根据就近原则获取,与4月30日数据比较 |
月环比 | (本月金额 - 上月金额) / 上月金额 * 100% | 无 |
日固定值 | 今日金额 > 固定值 | 无 |
注意:
对于每条预算,您可配置最多3条阈值类告警,3条波动类告警。
零支出预算为预设预算模板,方便您快速选择场景创建预算。该预算模板可直接提交进行保存。

预算名称:默认为零支出预算,如已存在相同名称的预算,则需要您修改名称。
费用范围:默认为全部费用,支持自定义费用范围。
告警逻辑:阈值提醒;当绝对值实际支出 ≥ 0.01时发送告警通知。
预算周期:月度。
持续时间:从创建时起持续生效。
编制方式:固定预算。
每月预算金额:0.01。
账单口径:费用账单。
费用类型:总费用。
告警通知:告警通知接收人默认取全部,支持自定义编辑。
说明:
零支出预算再次编辑时,进入自定义预算的编辑页面。
零支出预算进度条只有在预算金额大于1元时呈现,否则展示“-”。
月度费用预算也是预设预算模板,该预算模板在您填写预算金额后,可以直接提交进行保存,如已存在相同名称的预算,则需要您修改名称。

预算名称:默认为月度费用预算,可直接保存,如已存在同名称的预算,则需要您修改名称。
预算金额:默认总费用,页面下方呈现上月账单费用,支持手动输入和一键填入两种方式。
告警逻辑(阈值预算-百分比):
当实际支出达到预算金额的80%时发送告警通知。
当实际支出达到预算金额的100%时发送告警通知。
预算周期:月度。
持续时间:从创建时起持续生效。
编制方式:固定预算。
每月预算金额:需要您根据需要手动输入。
费用范围:全部范围。
账单口径:费用账单。
费用类型:总费用。
告警通知:预算告警通知接收人默认取全部,可自定义编辑。
说明:
月度费用预算再次编辑时,进入自定义预算的编辑页面。
若上月费用小于等于0,或无法查询时则不展示上月账单费用和一键填入。
提醒接收设置:
您可前往 消息订阅,选择费用中心 > 编辑 > 预算管理通知(在高级编辑模式下),设置提醒方式和消息接收人。
支持自定义设置接收用户、发送周期、发送时段、接收渠道。




接收用户:默认选择消息订阅 > 预算管理通知的全部接收人,也支持根据需要自定义消息接收人。
发送周期:根据需要选择发送预警消息频次。
发送时段:根据需要选择发送预警时间范围,支持一键选择24小时通知。
接收渠道:支持邮件、短信、站内信。
说明:
若您在触发某条阈值提醒后,编辑调整阈值金额,则会在下次检查时重新检查并发送。
若在某次检查中同时触发多次提醒,将聚合为一条消息发送。
同一条提醒在同一重置周期内(预算提醒指选取的预算周期,波动提醒指选取的波动类型),只会触发一次。
4.3 单击下一步:确认预算,该页面展示您已设置的预算信息,预警阈值、提醒信息等相关配置属性,确认无误后,单击保存。

AI 一键生成功能
说明:
AI 预算功能灰度中,如需使用请联系您的客户经理。
AI 一键生成功能适用于还未创建预算管理的用户。
1. 登录 费用中心控制台。
2. 在左侧导航栏中,选择成本管理 > 预算管理,进入预算管理页面。
3. 单击 AI 帮我创建预算。

4. 在 AI 创建预算页面,您可选择以下操作:
保存:使用 AI 推荐的预算设置,一键保存完成创建。

自定义调整:单击预算信息或提醒信息右侧的编辑,按需修改相关内容;也可单击上一步返回上一界面重新设置并保存预算。

可视化面板介绍
1. 在预算管理页面,单击更多旁的展开按钮支持编辑、复制、删除、停用该预算管理。

2. 按需单击预算列表中的预算分析。

3. 在打开的页面中,查看预算进度及配置情况。也可对预算进行编辑、复制、删除操作。

本期预算面板:您可以查看本期预算的相关信息:包括预算进度、预算与实际费用对比、本期已触发的提醒次数。
预算历史面板:在预算历史面板中,您可查看该预算在创建以来的历史执行情况。预算历史图表与成本分析打通,以可视化图表的方式展示每个周期的实际成本和预算计划,并支持跳转到成本分析进行进一步分析。
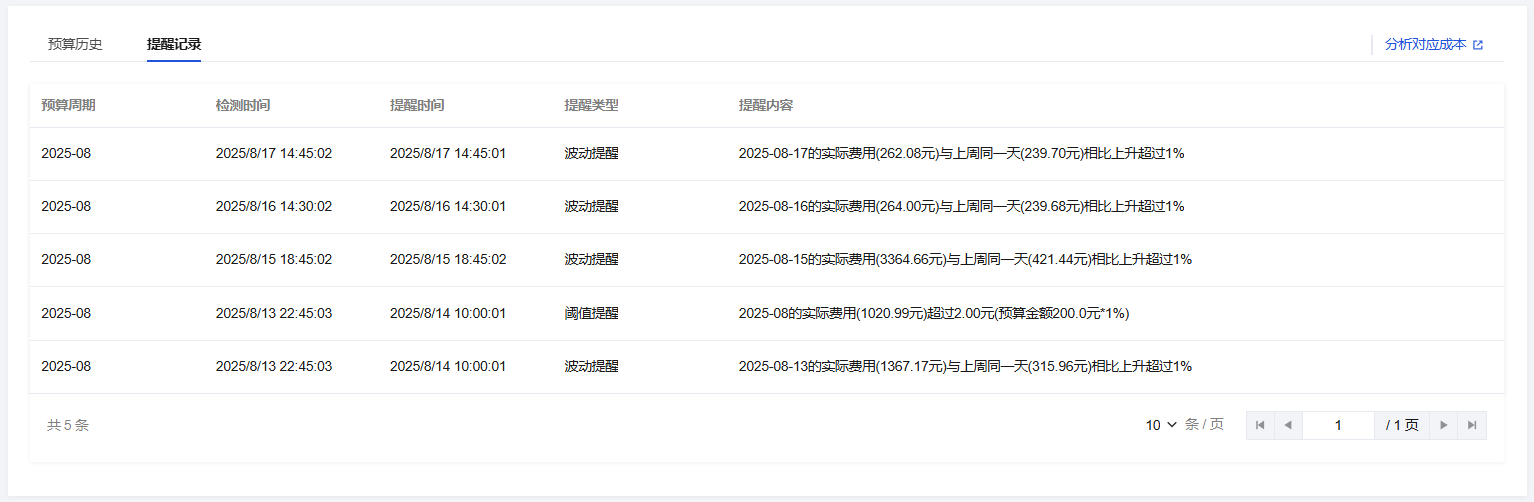
提醒记录面板:在提醒记录面板可以查看历史上触发的所有预警,包括预算周期、检测时间、提醒时间、提醒类型和提醒内容。

预算信息面板:在右侧面板可以查看该预算在配置时的所有相关属性。
说明:
当您自定义通知周期与时段后,告警的检测时间和提醒时间可能不同。例如:设置周末不接收消息,则周末检测到的告警会在周一提醒。
AI 一键优化介绍
说明:
该功能适用于已创建了预算管理的用户。
1. 在预算管理列表页面,将鼠标悬停在已创建的预算名称上,将出现 AI 优化,单击后 AI 将为您提供以下分析及建议。

预算基本情况分析:包括该预算的超支频率、超支模式及控制有效性评估。

预算超支原因分析:展示超支金额、主要影响因素及根本原因。

预算优化建议:基于历史数据,智能分析当前预算金额、告警阈值和编制方式等方面的不足,并提供具体调整建议。

2. 单击优化预算设置,AI 将自动为您优化该预算配置。

3. 在优化预算页面,您可选择以下操作:
应用:直接保存 AI 优化的预算设置。

继续编辑:进入预算编辑页面,根据需要调整预算信息或提醒信息并手动保存。
