首页
学习
活动
专区
圈层
工具
发布
首页
学习
活动
专区
圈层
工具
MCP广场
社区首页 >专栏 >企业生产管理的底层逻辑到底是什么?

企业生产管理的底层逻辑到底是什么?

原创
作者头像
用户11735492
发布2025-07-14 15:34:55
发布2025-07-14 15:34:55
1510
举报

在生产管理中,部分工厂虽注重现场管控、进度跟进等,但仍面临交期延误、效率低下等问题,根源在于缺乏系统化的管理方法。生产管理的核心在于平衡交期、质量、成本与效率,而部门多、流程长的特点更需清晰的管理逻辑。

本文围绕生产管理的“四管八理”展开,先阐释生产管理的核心目标是按时、按质、按量、按成本生产;再详解“四管”(管人、管物、管事、管钱)的具体内容,即通过立规矩、设激励管人,通过库存与设备管理管物,通过计划与进度跟踪管事,通过成本控制管钱;进而阐述“八理”(理优战略、理清目标、理低风险等)的实操要点,为工厂提供系统化的生产管理思路,助力实现现场稳定与效率提升。

注:本文示例所用方案模板:简道云生产管理系统,给大家示例的是一些通用的功能和模块,都是支持自定义修改的,你可以根据自己的需求修改里面的功能。

一、生产管理是什么?

一句话讲清楚: 生产管理,就是把产品按时、按质、按量、按成本地生产出来。

说得再细一点,生产管理就是管这几件事:

  • 什么时间、做多少、怎么做、给谁做;
  • 材料够不够、设备行不行、工人会不会;
  • 怎么控制成本、怎么保证质量、怎么按时交货。

说白了,就是围着这四个目标打转: 交期、质量、成本、效率。

但是啊,理论听起来简单,真到工厂里,这事就麻烦了。

生产管理这个活,说难不难,说简单也不简单。

最大的问题就在于:部门多、流程长、角色杂,牵一发而动全身。

计划、车间、仓库、采购、质检、财务,每个环节都绕不开, 很多企业就是管着管着,人一多、事一杂,节奏就乱了。

所以,想把生产管理这事管顺,不是靠拍脑袋,也不是靠经验堆, 而是得有一套方法,把这摊事管清楚、管明白、管到底

二、生产管理的四管

工厂生产,说到底,绕不开四个字:人、物、事、钱

管得好,现场稳、交期稳、利润也稳。


1. 管人:人管不住,什么都管不住

人,是生产的起点。 人心不稳、纪律不严,现场就乱套。

管人,核心就三件事:

  • 立规矩:规章制度必须有,岗位职责、操作流程、奖惩细则,全部写清楚。啥能干、啥不能干,不能模糊。
  • 做培训:光有规矩不够,还得培训、教育,让员工知道怎么做、怎么做对。尤其是新员工、巡检员、操作工,要手把手教,不能光靠纸上说教。
  • 设激励:人是有动力的,干得好有奖励,偷懒耍滑必然有惩罚。 比如,产量高、品质好、无安全事故的工人,可以在工资统计、绩效报表里直接体现差异化,让人有盼头。


2. 管物:物料、设备、库存,任何一个环节掉链子,生产就瘫

工厂的“物”,就是原材料、半成品、工具、设备、备件。 很多工厂,现场一乱,十有八九是“物”出了问题。

管物,关键三件事:

  • 库存管理:库存太多,压钱、挤空间;太少,断料、停工。 库存管理模块,就是帮你盯库存的。它能精准记录每笔入库、出库,自动计算库存数量、库龄、资金占用,还能设置预警线,库存过高、过低都会报警(图中红色部分)。

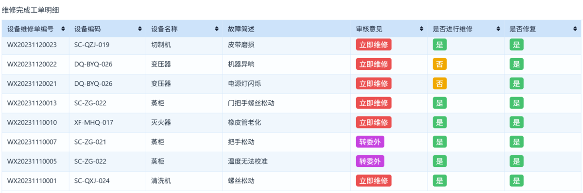
  • 设备管理:设备得健康运行,不能“带病作业”。 设备档案、设备巡检、设备保养、设备报修这些模块,就是你的设备“健康档案”。 设备点检、保养按计划做,设备异常提前预警,维修也能自动派单、记录。

  • 生产环境管理:别小看现场环境,温度、湿度、清洁度、消防安全,这些都是生产效率的隐形推手。 干净的环境、合理的布局、舒适的温湿度,不只是安全问题,效率、品质也都会受影响。

3. 管事:工单、任务、流程、进度,环环相扣,不能掉链子

“事”,就是工厂每天在做的活儿: 生产任务、工单、工序、报工、入库、交付,全都算“事”。

管事,核心也是三步:

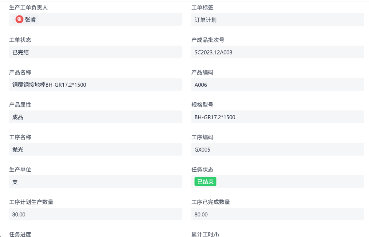
  • 计划要细:什么任务、谁来干、怎么干、什么时候干完,都得提前排好。 系统里的生产工单、生产任务模块,就是专门干这个的。工单一出,工序、产量、交期、责任人,全都清清楚楚。

  • 过程要盯:不能只靠计划,过程必须有人盯着。 生产报工、生产监控看板、执行统计这些模块,能让管理者随时看到每个工单、每个工序的进度,哪里慢、哪里卡,一目了然,发现问题马上调整。
  • 结果要复盘:活儿干完了,不能一了百了,要复盘。 工单数据、报工数据、异常记录、返工返修,这些信息,就是你的“复盘素材”,下次做同类产品,可以少踩坑。


4. 管钱:钱不是财务部门的事,是生产现场的事

工厂赚钱,最终还是看钱管得好不好。

这里的钱,不光是利润,还有这些:

  • 员工工资、设备折旧、物料成本、能耗费用、库存资金占用……都是钱。

管钱,两个核心动作:

  • 投得准:不该花的钱坚决不花,该花的钱一定不能省。 比如设备该保养就保养,延误保养导致停机的损失,往往远比保养费高得多。
  • 控得严:钱的每一笔流向,都得清楚。 经营看板、经营分析报表,就是用来盯钱的工具,能让你清楚看到人工成本、物料成本、库存资金占用、订单利润结构,心里有数,决策才准。

一句话总结:管钱,绝不是财务部门的事,而是每个生产管理者都必须懂的活儿。

三、生产管理的八理

四管,是管大盘, 八理,是管细节。

很多工厂,大盘管得还行,细节一乱,现场照样忙乱。

下面这“八理”,就是把细节一条条理顺的实操抓手, 不管你工厂多大,这八个字,全都绕不过去。

1. 把战略理“优”

战略,说白了,就是工厂的方向盘。

厂里一年到头,忙得再凶,如果方向不对,全白忙。 战略得实事求是,不能光喊口号,得问三个问题:

  • 市场现在缺啥?
  • 咱们真能做啥?
  • 做下去能不能赚到钱?

2. 把目标理“清”

目标不清,现场永远靠猜。

目标必须具体、量化、能落地:

  • 不是“今年提升品质”,而是“本季度合格率达到99%”;
  • 不是“提高效率”,而是“单件工时减少5%”。


3. 把风险理“低”

工厂的风险,永远不能轻视, 设备故障、质量事故、交期延误、库存断供,全是风险。

怎么管风险?三招:

  • 设备按时巡检、保养,设备点检、维修模块就是防线;
  • 安全培训、操作规程不能漏;
  • 应急预案必须有,出了问题,马上能响应。


4. 把制度理“顺”

工厂不是靠感情管的,制度必须立得稳。

但光立规矩还不够,规矩还得用得下去,怎么做?

  • 制度要清晰,不能模糊;
  • 奖惩要公正,不能偏心;
  • 操作要顺手,不能让人反感。

5. 把职责理“实”

职责不清,工厂一定乱。

“你以为他干,他以为我干,最后都没干”,这种事,车间天天发生。

怎么理职责?

  • 每个岗位,干啥、怎么干、啥标准,全部要细化;
  • 工单上责任人、操作人、检验人,必须清楚。


6. 把流程理“快”

流程慢,不是人懒,是流程设计本身有问题。

怎么理流程?

  • 砍掉不必要的审批、签字、汇报,能线上解决的别线下绕圈;
  • 关键流程必须快,不能卡在中间等签字。

7. 把标准理“精”

工厂如果没有标准,品质、效率、成本都会乱。

怎么理标准?

  • 每个环节都要有标准,从原料、工艺,到检验、包装;
  • 标准要能操作、能检查、能复盘,不是写在纸上的空话。

巡检标准、质检报告、操作规程,都可以在系统里做成数字化,做到“按标准走流程”。


8. 把信息理“畅”

工厂最怕什么?信息堵塞。

前端不知道后端在干啥,计划不知道现场哪里卡了,老板更不知道工厂到底亏还是赚。

怎么理信息?

  • 用系统把数据打通,让人、单、料、机、钱全部联通;
  • 信息必须实时、透明、自动,别靠口头、纸头传话。

四、结语

生产管理,归根到底,就是八个字: 管大盘,理细节。

人、物、事、钱,先管好这四个大盘,工厂自然有序;

战略、目标、风险、制度、职责、流程、标准、信息,八个细节一理清,现场自然顺畅。

是口号,不是摆设, 它就是工厂每天的日常工作,就是生产现场的操作细节。

管好这四管八理,工厂就有底气、能长远。

原创声明:本文系作者授权腾讯云开发者社区发表,未经许可,不得转载。

如有侵权,请联系 cloudcommunity@tencent.com 删除。

原创声明:本文系作者授权腾讯云开发者社区发表,未经许可,不得转载。

如有侵权,请联系 cloudcommunity@tencent.com 删除。

评论
登录后参与评论
0 条评论
热度
最新
推荐阅读
目录
  • 一、生产管理是什么?
  • 二、生产管理的四管
    • 1. 管人:人管不住,什么都管不住
    • 2. 管物:物料、设备、库存,任何一个环节掉链子,生产就瘫
    • 3. 管事:工单、任务、流程、进度,环环相扣,不能掉链子
    • 4. 管钱:钱不是财务部门的事,是生产现场的事
  • 三、生产管理的八理
    • 1. 把战略理“优”
    • 2. 把目标理“清”
    • 3. 把风险理“低”
    • 4. 把制度理“顺”
    • 5. 把职责理“实”
    • 6. 把流程理“快”
    • 7. 把标准理“精”
    • 8. 把信息理“畅”
  • 四、结语
领券
问题归档专栏文章快讯文章归档关键词归档开发者手册归档开发者手册 Section 归档