
6月28日,中国证监会网站发布公告显示,紫光展锐(上海)科技股份有限公司(以下简称“紫光展锐”)已于6月27日在上海证监局办理辅导备案,拟在科创板首次公开发行股票并上市。这也意味着紫光展锐有望成为国产智能手机芯片第一股。


公开资料显示,紫光展锐成立于2013年8月26日,是我国集成电路设计业的领军企业,全面掌握2G/3G/4G/5G/6G、Wi-Fi、蓝牙、卫星通信等全场景通信技术。在智能手机、物联网、汽车电子、智能显示等领域均有广泛应用。作为全球领先的平台型芯片设计企业,紫光展锐立足“五芯先锋”发展定位,探索卫星通信、通用计算、专用计算等前沿科技,致力于为全球用户提供便捷的数字连接,赋能产业数字化转型,将技术创新的力量延伸到社会更广阔的领域。
作为一家拥有20多年历史的通信芯片厂商,展锐是目前全球仅有的拥有完整2/3/4/5G基带芯片技术的6家厂商之一(包括高通、联发科、展锐、华为、三星、苹果)。而除了基带技术能力之外,展锐还可提供高性能处理器、射频芯片、射频前端、电源管理、音频处理、无线连接、多媒体芯片等周边套片设计能力。据了解,目前紫光展锐员工总数已经达到了5000多人,其中超过85%是研发人员。
数据显示,2024年紫光展锐芯片出货超过16亿颗,其中5G芯片销量同比增长82%。目前搭载展锐5G芯片的百余款智能终端已进入欧洲、拉美、东南亚、南亚等市场。截至2025年3月份,紫光展锐已经累计在全球116个国家实施了5G场测,5G智能手机规模出货至85个国家,通过了56家运营商认证。
根据Counterpoint Research公布的2025年一季度全球智能手机AP-SoC市场份额排名,联发科以36%的市占率排名第一,高通以28%份额居第二,苹果以17%份额排名第三,紫光展锐则以10%的份额排名第四。

财务数据方面,根据紫光展锐此前披露的信息显示,2022年紫光展锐营收达到了140亿元,同比增长20%;虽然2023年全球智能手机市场出货量同比下降了3.2%,但紫光展锐的营收仍突破了130亿元的规模;2024年紫光展锐销售收入145亿元,同比增长约11%。
作为对比,市场研究机构TrendForce发布2024年全球前十大IC设计公司的营收排名显示,排名第十的MPS的营收为22.07亿美元,约合人民币158.3亿元。紫光展锐的145亿元人民币的营收仅略低于MPS。如果看2023年的营收,紫光展锐则与当时排名第十的MPS持平。

值得注意的是,在2022年下半年新紫光集团重组完成之后,便开始着手解决阻碍紫光展锐上市的历史遗留问题,加速推动紫光展锐的IPO上市进程。
2024年6月,紫光展锐董事会已表决通过新一轮股权融资,本轮融资金额超过40亿元,投资方包括京沪两地国资平台,以及工银资本管理有限公司、交银金融资产投资有限公司、人保资本股权投资有限公司、中信建投、国泰君安、弘毅投资等金融机构。

2024年9月,紫光展锐董事长马道杰透露,紫光展锐耗时一年多的股权融资于近日圆满完成,40亿股权融资资金已经全部到账。有消息称,当时紫光展锐的估值已经达到了660亿元。
随后在2024年11月,紫光展锐在全球合作伙伴大会上正式宣布,在此前已经完成了40亿元股权融资的基础上,近期将再完成近20亿元股权增资,增资方正是当时刚刚回归的紫光展锐创始人、董事、首席战略顾问陈大同旗下的元禾璞华。在该轮股权融资完成后,紫光展锐的投后估值可能已达700亿元左右。
紫光展锐董事长马道杰表示:“作为国内最早从事手机通信芯片研发的企业之一,新紫光集团旗下的紫光展锐正处于跨越式发展的重要窗口期。在大股东和各级政府等多方支持下,本轮股权融资落地将为公司日常经营发展以及IPO等诸多关键事项注入新动能。”
今年3月31日,紫光展锐正式完成股改工商变更,公司名称由“紫光展锐(上海)科技有限公司”变更为“紫光展锐(上海)科技股份有限公司”,公司注册资本约55.32亿元。
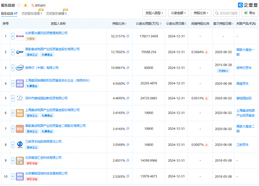
从最新的股权结构来看,目前紫光展锐的控股股东为新紫光集团旗下北京紫光展讯投资管理有限公司,持股32.2151%;第二大股东为国家集成电路产业投资基金股份有限公司(又称“大基金”),持股12.7602%;第三大股东为英特尔(中国)有限公司,持股10.8461%。此外,同样属于国资的上海集成电路产业投资基金股份有限公司和国家集成电路产业投资基金二期股份有限公司(又称“大基金二期”)也分别持有紫光展锐3.4165%的股权。

紫光展锐后续如果能够顺利登陆科创板,将有望借助资本市场的力量进一步做大做强,也有助于国产智能手机芯片产业的快速发展。
根据此前紫光展锐内部人士透露的计划显示,紫光展锐计划在2025年实现“盈亏平衡”,并完成IPO的阶段目标。在成功IPO助力公司进一步的跨越式发展之后,希望到2030年实现“营业收入规模力争全球领先,盈利能力稳健,核心竞争力突出,产业生态引领强,迈入世界一流芯片设计企业行列”。
编辑:芯智讯-浪客剑